Dấu bụi thủy lực là một trong những sản phẩm niêm phong mà Ruichen Seals có thể sản xuất. Bạn có thể tìm hiểu về các mô hình khác nhau trong loại sản phẩm này và cũng có thể thực hiện các kết hợp cấu trúc. Nếu cần thiết, bạn cũng có thể liên hệ với chúng tôi để được trợ giúp hoặc giải pháp tùy chỉnh hoặc liên hệ với chúng tôi để có được một cuốn sách mẫu.
RCF01 và RCF02 là các con dấu bụi hai chiều bao gồm một vòng niêm phong bụi hai chân chứa đầy vật liệu PTFE chống mặc và vòng cao su hình chữ O. Vòng chữ O cung cấp lực tải trước để bù cho sự hao mòn của vòng PTFE. RCF01 phù hợp cho các dịp hạng nặng, chẳng hạn như môi trường bụi hoặc lạnh và chuyển động đối ứng tần số cao. Nên sử dụng các rãnh phân tách cho đường kính trục nhỏ hơn 30 mm. RCF02 phù hợp cho các điều kiện chuyển động, xoay hoặc xoắn ốc.
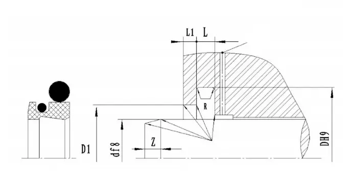
RCF03 là một vòng bụi một chiều bao gồm một vòng cạp bụi đơn lip chứa đầy vật liệu PTFE và vòng cao su hình chữ O. Chức năng của nó là cạo bụi và ngăn chặn hệ thống bị ô nhiễm. Nó phù hợp để chuyển động đối ứng, xoay hoặc điều kiện chuyển động xoắn ốc.
RCF04 và RCF05 là các vòng bụi hai lớp niêm mạc bao gồm một vòng có hình đặc biệt với một đôi môi niêm phong và môi chống bụi và hai vòng chữ O làm yếu tố tải trước, được sử dụng để cải thiện sự niêm phong tổng thể. Nó có các đặc điểm của cuộc sống lâu dài, ma sát thấp, không có độ nhớt và độ tin cậy cao. RCF04 chủ yếu được sử dụng trong máy móc nông nghiệp, máy ép thủy lực, máy ép phun, hệ thống điều khiển thủy lực, xe nâng, máy lăn, cần cẩu, và máy móc tải và dỡ hàng. RCF05 chủ yếu được sử dụng trong máy ép thủy lực, máy ép phun, máy lăn, máy bay luyện kim, v.v ... Nó đặc biệt phù hợp với các con dấu chống bụi của thanh piston có đường kính lớn.
Vòng bụi DHS là một vòng bụi chức năng kép, có cả hiệu ứng chống bụi tốt và chức năng màng dầu niêm phong nhất định. Các vật liệu là polyurethane hiệu suất cao, cao su nitrile và fluororubber.
Hình chữ J và hình JA được sử dụng để đối ứng với thanh piston hình trụ hoặc thân van để cạo bụi. Các vật liệu là polyurethane (TPU/CPU) và cao su. Các rãnh và kích thước và dung sai sản phẩm tuân thủ với JB/T6657-93 và JB/T6656-93.
Vòng bụi GSM được sử dụng để ngăn chặn các chất ô nhiễm bên ngoài trộn vào hệ thống thủy lực và hệ thống niêm phong, và có thể đưa dầu thủy lực vào hệ thống bôi trơn mà không bị rò rỉ ra bên ngoài, có tác dụng niêm phong phụ trợ. Các vật liệu là cao su nitrile, fluororubber và polyurethane.
Các vòng bụi GP1 và GP6 được sử dụng để ngăn chặn các chất ô nhiễm trộn vào hệ thống thủy lực và hệ thống niêm phong. Vật liệu là NBR cao su nitrile và fkm fluororubber được chọn ở nhiệt độ cao. GP6 chủ yếu được sử dụng để niêm phong chống bụi của thanh piston có đường kính lớn.
Vòng bụi loại AF được sử dụng để ngăn chặn bụi, bụi bẩn, cát và kim loại xâm nhập vào xi lanh thủy lực. Giảm nguy cơ trầy xước gây ra bởi các chất gây ô nhiễm bên ngoài được nhúng trong các yếu tố trượt. Hiệu ứng chống bụi tuyệt vời có thể đạt được thông qua thiết kế đặc biệt của môi chống bụi. Vòng có các đặc điểm của khả năng chống mài mòn mạnh, biến dạng vĩnh viễn nhỏ và khả năng chống lại tác động cơ học bên ngoài. Vòng chống bụi có thể được lắp đặt chắc chắn ở vị trí thích hợp của rãnh mở trục bằng cách sử dụng sự giao thoa phù hợp giữa đường kính ngoài của rãnh niêm phong và kim loại. Sự phù hợp là tuôn ra, vì vậy môi được bảo vệ cao chống lại thiệt hại do lý do bên ngoài. Từ góc độ kỹ thuật, vòng chống bụi loại AF là một thiết bị niêm phong đầu xi lanh phù hợp.
Các tính năng và ứng dụng sản phẩm:
Ví dụ đặt hàng:
Mô hình đơn hàng RCF01-80-PTFE3-R01
RCF01-Model 80 Trục đường kính PTFE3 General sửa đổi PTFE R01-COMP
Cao su nitrile (NBR)-R01 Fluororubber (FKM) -R02
Mô hình đơn hàng RCF02-80-PTFE3 RS R01
RCF02 Model 80 Trục đường kính PTFE3-Universal Sửa đổi PTFE R01-COMP
Cao su nitrile (NBR)-R01 Fluororubber (FKM) -R02
Mô hình đơn hàng RCF03-80-PTFE3 RS R01
RCF03-Model 80 Trục Đường kính PTFE3-Universal R01-Trục Cao su phù hợp với PTFE R01
Cao su nitrile (NBR)-R01 Fluororubber (FKM) -R02
Mô hình đơn hàng RCF04-80-PTFE3-R01
RCF04 Model 80 Trục đường kính PTFE3-Universal Sửa đổi PTFE R01-COMP
Cao su nitrile (NBR) -R01 fluororubber (FKM) -R02
Mô hình đơn hàng RCF05-80-PTFE3-R01
RCF05 Model 80 Trục Đường kính PTFE3 General sửa đổi PTFE RO1-COP
Cao su nitrile (NBR) -R01 fluororubber (FKM) -R02
Mô hình đơn hàng: DHS-130*143*8/9.5-R01 D*D1*G/H
Con dấu bụi loại j
Con dấu bụi loại ja
GSM
Con dấu bụi GSM được đánh dấu bằng số thứ tự, ví dụ: GSM4048 đường kính 40 trục
Gp1
Ví dụ đánh dấu: gp1-70*82*4/8 model-d*d*l/h
Gp6
Phương pháp đánh dấu: gp6-70*80.6*5.3/7 model-d*d*l/h
CỦA
DKB
Thông số kỹ thuật
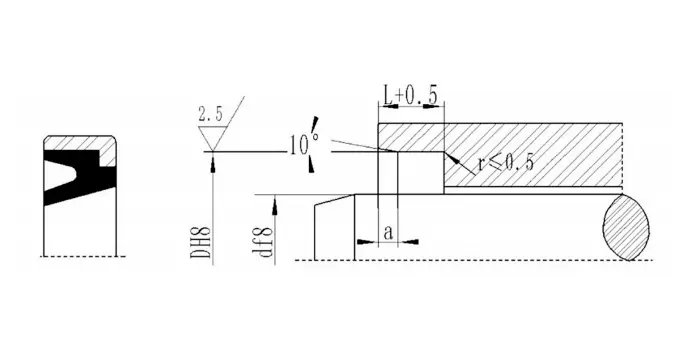
RCF01| Phạm vi đường kính trục D F8 |
Đường kính rãnh D H9 |
Chiều rộng rãnh L+0.2 |
Đường kính lỗ mở D1H11 | Mở chiều rộng lỗ A |
Góc tròn R≤ |
Đường kính dây chữ O dO |
| 19 ~ 39 | D+7.6 | 4.2 | D+1.5 | 3 | 0.8 | 2.65 |
| 40 ~ 69 | D+8,8 | 6.3 | D+1.5 | 3 | 0.8 | 2.65 |
| 70 ~ 139 | D+12.2 | 8.1 | D+2.0 | 4 | 0.8 | 3.55 |
| 140 ~ 399 | D+16.0 | 9.5 | D+2.5 | 5 | 1.5 | 5.30 |
| 400 ~ 649 | D+24.0 | 14.0 | D+2.5 | 8 | 1.5 | 7.00 |
| 650 ~ 1500 | D+27.3 | 16.0 | D+2.5 | 10 | 2.0 | 8.60 |
| Phạm vi đường kính trục D F8 |
Đường kính rãnh D H9 |
Chiều rộng rãnh L+0.2 |
Đường kính lỗ mở D1H11 | Mở chiều rộng lỗ A |
Góc tròn R≤ |
Đường kính dây chữ O dO |
| 4 ~ 11 | D+4,8 | 3.7 | D+1.5 | 2 | 0.4 | 1.80 |
| 12 ~ 64 | D+6.8 | 5.0 | D+1.5 | 2 | 0.7 | 2.65 |
| 65 ~ 250 | D+8,8 | 6.0 | D+1.5 | 3 | 1.0 | 3.55 |
| 251 ~ 420 | D+12.2 | 8.4 | D+2.0 | 4 | 1.5 | 5.30 |
| 421 ~ 650 | D+16.0 | 11.0 | D+2.0 | 4 | 1.5 | 7.00 |
| 651 ~ 1500 | D+20.0 | 14.0 | D+2.5 | 5 | 2.0 | 8.60 |
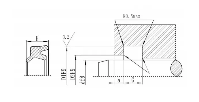
| Phạm vi đường kính trục D F8 |
Đường kính rãnh DH9 |
Đường kính bước D1 H11 |
Chiều rộng rãnh L+0.2 |
Chiều rộng tổng thể L1 |
Góc tròn Rmax |
Chiều dài vát Zmin |
| 20 ~ 39,9 | D+7.6 | D+1 | 4.2 | 8.2 | 0.4 | 3 |
| 40 ~ 69,9 | D+8,8 | D+1.5 | 6.3 | 10.3 | 1.2 | 4 |
| 70 ~ 139,9 | D+12.2 | D+2.0 | 8.1 | 12.1 | 2 | 6 |
| 140 ~ 399,9 | D+16.0 | D+2.0 | 11.5 | 15.5 | 2 | 8 |
| 400 ~ 649,9 | D+24.0 | D+2.5 | 15.5 | 19.5 | 2 | 10 |
| 650 ~ 1000 | D+27.3 | D+2.5 | 18.0 | 23.0 | 2 | 12 |
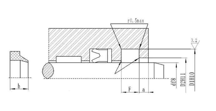
| Phạm vi đường kính trục D F8 |
Đường kính rãnh DH9 |
Đường kính bước D1 H11 |
Chiều rộng rãnh L+0.2 |
Chiều rộng bên L1 |
Góc tròn Rmax |
Chiều dài vát Zmin |
| 100 ~ 229 | D+22.2 | D+10,7 | 6.3 | 4.2 | 1.2 | 6 |
| 230 ~ 299 | D+24.2 | D+10,7 | 6.3 | 4.2 | 1.2 | 8 |
| 300 ~ 629 | D+33.0 | D+15.1 | 8.1 | 6.3 | 1.2 | 10 |
| 630 ~ 1000 | D+36,5 | D+15.1 | 9.5 | 6.3 | 2 | 12 |
| Số sản phẩm | d | D1 | H | G+0.3 | D2 | a |
| DHS 12 | 12 | 20 | 6 | 5 | 16.3 | 2 |
| DHS 14 | 14 | 22 | 6 | 5 | 18.3 | 2 |
| DHS 16 | 16 | 24 | 6 | 5 | 20.3 | 2 |
| DHS 18 | 18 | 26 | 6 | 5 | 22.3 | 2 |
| DHS 20 | 20 | 28 | 6 | 5 | 24.3 | 2 |
| DHS 22 | 22 | 30 | 6 | 5 | 26.3 | 2 |
| DHS 25 | 25 | 33 | 6 | 5 | 29.3 | 2 |
| DHS 28 | 28 | 36 | 6 | 5 | 32.3 | 2 |
| DHS 30 | 30 | 38 | 6.5 | 6 | 34 | 2 |
| DHS 32 | 32 | 40 | 6.5 | 6 | 36 | 2 |
| DHS 35 | 35 | 43 | 6.5 | 6 | 39 | 2 |
| DHS 38 | 38 | 46 | 6.5 | 6 | 42 | 2 |
| DHS 40 | 40 | 48 | 6.5 | 6 | 44 | 2 |
| DHS 45 | 45 | 53 | 6.5 | 6 | 49 | 2 |
| DHS 48 | 48 | 56 | 6.5 | 6 | 52 | 2 |
| DHS 50 | 50 | 58 | 6.5 | 6 | 54 | 2 |
| DHS 55 | 55 | 63 | 6.5 | 6 | 59 | 2 |
| DHS 56 | 56 | 64 | 6.5 | 6 | 60 | 2 |



























































Địa chỉ
Đường số 1 Ruichen, Khu công nghiệp Dongliuting, huyện Chengyang, thành phố Thanh Đảo, tỉnh Sơn Đông, Trung Quốc
điện thoại