Vòng niêm phong hình ngôi sao là một con dấu bốn lip với hình dạng giống X, vì vậy nó còn được gọi là vòng X. Đó là một cải tiến và tăng cường trên cơ sở của vòng chữ O. Kích thước mặt cắt ngang của nó giống như các kích thước của vòng chữ O của tiêu chuẩn AS568A của Mỹ và về cơ bản nó có thể thay thế việc sử dụng vòng chữ O.
So với vòng chữ O, vòng niêm phong hình ngôi sao tạo thành một khoang bôi trơn giữa đôi môi niêm phong, có khả năng chống ma sát nhỏ hơn và một điện trở khởi đầu nhỏ. Bởi vì cạnh flash của nó nằm trong phần lõm của mặt cắt, hiệu ứng niêm phong tốt hơn. Mặt cắt ngang không mạch có hiệu quả tránh hiện tượng lăn trong quá trình chuyển động đối ứng.
Phạm vi ứng dụng của vòng niêm phong hình ngôi sao rất rộng. Chọn vật liệu thích hợp theo nhiệt độ, áp suất và môi trường. Để làm cho vòng niêm phong hình ngôi sao thích ứng với ứng dụng đã cho, nên xem xét các ràng buộc lẫn nhau giữa tất cả các tham số làm việc. Khi xác định phạm vi ứng dụng, nhiệt độ cực đại, nhiệt độ làm việc liên tục và chu kỳ vận hành phải được xem xét. Trong các dịp quay, sự gia tăng nhiệt độ do nhiệt ma sát cũng phải được xem xét.
Chiếc nhẫn niêm phong hình X này là một yếu tố niêm phong tự đóng kín. Lực niêm phong ở trạng thái ban đầu phụ thuộc vào lượng nén và độ cứng của vật liệu. Khi áp suất hệ thống tăng lên, biến dạng nén của vòng niêm phong sẽ tăng lên, và tổng lực niêm phong sẽ tăng lên, tạo thành một con dấu đáng tin cậy.
Các tính năng và ứng dụng sản phẩm:
Lựa chọn vòng niêm phong hình sao
Niêm phong tĩnh hoặc chuyển động tuyến tính đối ứng
. Bởi vì lực dự phòng trước được tạo ra bởi sự nén trước có thể ngăn chặn vòng niêm phong bị xoắn và lăn.
. Vòng dấu sẽ dễ cài đặt hơn và có tuổi thọ dài hơn.
Niêm phong quay
Đường kính bên trong của vòng hình ngôi sao lớn hơn khoảng 2 ~ 5% so với đường kính của trục mà nó niêm phong. Bởi vì vòng niêm phong sẽ tạo ra ma sát và nhiệt khi nó được sử dụng trong vòng quay, và chất đàn hồi sẽ co lại sau khi sưởi ấm (hiệu ứng sưởi ấm Joule). Để đảm bảo bôi trơn và hoạt động đáng tin cậy của vòng niêm phong, một vòng hình ngôi sao có đường kính bên trong lớn hơn đường kính trục phải được chọn. Nói chung, một vòng niêm phong với mặt cắt nhỏ hơn có thể đáp ứng nhu cầu niêm phong tĩnh, và ngược lại, một vòng niêm phong có mặt cắt lớn hơn nên được sử dụng để đáp ứng các yêu cầu của niêm phong động. Trong trường hợp áp suất cao hoặc khoảng cách đùn lớn, một vật liệu cao su có độ cứng cao hơn cần được chọn. Cách tốt nhất là thêm một vòng hỗ trợ PTFE để ngăn ngừa thiệt hại từ quá mức áp suất cao.
Vật liệu
Vật liệu thường là Shaw A70 Nitrile Rubber NBR. Các vật liệu khác có thể đề cập đến các vật liệu được sử dụng cho vòng chữ O.
| Bảng 2-1 tham số hiệu suất | ||||
| Tham số kỹ thuật | Con dấu động | Con dấu tĩnh | ||
| Chuyển động trước | Chuyển động quay | |||
| Áp lực làm việc (MPA) | Với vòng giữ lại | 30 | 15 | 40 |
| Mà không cần giữ vòng | 5 | - | 5 | |
| Tốc độ (m/s) | 0.5 | 2.0 | - | |
| Nhiệt độ (℃) | Các dịp chung: -30 ~+110 | |||
| Vật liệu đặc biệt: -60 ℃ ~+200 | ||||
| Các dịp xoay vòng: -30 ℃ ~+80 | ||||
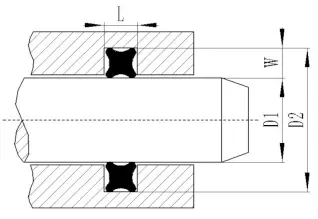
Star Ring được đề xuất thiết kế rãnh
| Vòng niêm phong hình sao-X-X-X-Ring (Tiêu chuẩn Mỹ AS568A) | |||||||||
| Con dấu thanh piston (cho trục) | Con dấu piston (lỗ) | ||||||||
![]() |
![]() |
||||||||
| Mô hình sản phẩm | Thông số kỹ thuật và kích thước | BEALS ROD | Con dấu piston | Chiều rộng khe |
|
||||
| Đường kính bên trong dn | Đường kính cắt ngang CS | D1 | D2 | D3 | D4 | L | W | ||
| AS001 AS002 AS003 |
0.74 1.07 1.42 |
1.02 1.27 1.52 |
|
|
|
|
|
|
|
| AS004 AS005 AS006 |
1.78 2.57 2.9 |
1.78 1.78 1.78 |
3 | 6.1 | 6 | 2.9 | 2 | 1.55 | |
| AS007 AS008 AS009 |
3.68 4.47 5.28 |
1.78 1.78 1.78 |
3.5 4.5 5 |
6.6 7.6 8.1 |
7 8 9 |
3.9 4.9 5.9 |
2 2 2 |
1.55 1.55 1.55 |
|
| AS010 AS011 AS012 |
6.07 7.65 9.25 |
1.78 1.78 1.78 |
6 8 9 |
9.1 11.1 12.1 |
10 11 13 |
6.9 7.9 9.9 |
2 2 2 |
1.55 1.55 1.55 |
|
| AS013 AS014 AS015 |
10.82 12.42 14 |
1.78 1.78 1.78 |
11 13 14 |
14.1 16.1 17.1 |
15 17 18 |
11.9 13.9 14.9 |
2 2 2 |
1.55 1.55 1.55 |
|
| AS016 AS017 AS018 |
15.6 17.17 18.77 |
1.78 1.78 1.78 |
16 17 19 |
19.1 20.1 22.1 |
20 21 23 |
16.9 17.9 19.9 |
2 2 2 |
1.55 1.55 1.55 |
|
| AS019 AS020 AS021 |
20.35 21.95 23.52 |
1.78 1.78 1.78 |
21 22 24 |
24.1 25.1 27.1 |
25 26 28 |
21.9 22.9 24.9 |
2 2 2 |
1.55 1.55 1.55 |
|
| AS022 AS023 AS024 |
25.12 26.7 28.3 |
1.78 1.78 1.78 |
26 27 29 |
29.1 30.1 32.1 |
30 31 33 |
26.9 27.9 29.9 |
2 2 2 |
1.55 1.55 1.55 |
|

Địa chỉ
Đường số 1 Ruichen, Khu công nghiệp Dongliuting, huyện Chengyang, thành phố Thanh Đảo, tỉnh Sơn Đông, Trung Quốc
điện thoại