Vòng giữ được sử dụng cùng với vòng chữ O hoặc vòng sao để ngăn vòng niêm phong bị ép vào khoảng trống ở phía áp suất thấp dưới tác dụng của áp lực. Khi áp lực tiếp tục tăng, vòng niêm phong bị hư hại do "đùn" và cuối cùng không được niêm phong. Nếu một vòng giữ được sử dụng, "đùn" của vòng niêm phong có thể được ngăn chặn. Do đó, vòng giữ là một bổ sung cho vòng niêm phong. Nó không phải là một con dấu, nhưng nó làm tăng phạm vi áp suất làm việc của vòng niêm phong.
Vòng giữ được sử dụng cùng với vòng chữ O để ngăn chặn nó "đùn", bảo vệ hiệu quả vòng chữ O, tăng tuổi thọ dịch vụ của nó và cho phép khoảng cách niêm phong lớn hơn, do đó giảm chi phí xử lý.
Các tính năng và ứng dụng sản phẩm:
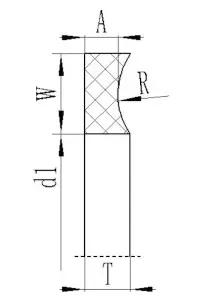
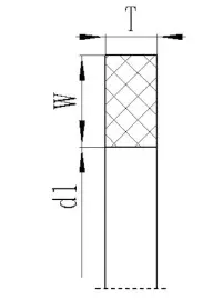
Giữ lại dạng vòng và loại cấu trúc
Dữ liệu kỹ thuật
Áp suất làm việc: Con dấu tĩnh có thể đạt khoảng 200MPa (tùy thuộc vào vật liệu và loại dấu của vòng giữ), con dấu đối ứng có thể đạt khoảng 40MPa. Xoay/quay tốc độ chậm có thể đạt khoảng 15MPa.
TỐC ĐỘ: ĂN HƯỚNG DẪN VÀ XUỐNG có thể đạt khoảng 2m/s (tùy thuộc vào vật liệu).
Tiêu chuẩn đặt hàng
.
Ví dụ: T01-00356 D1: 3.56*W: 1.35*T: 1.23
.
Ví dụ: T02-027 D1: 33,78*W: 1.35*A: 1.14*T: 1.24



Địa chỉ
Đường số 1 Ruichen, Khu công nghiệp Dongliuting, huyện Chengyang, thành phố Thanh Đảo, tỉnh Sơn Đông, Trung Quốc
điện thoại