|
Áp suất/MPa |
Nhiệt độ / °C |
Tốc độ /m/s |
Trung bình |
|
40 |
-35~+100 (với vòng chữ O NBR phù hợp) |
2 |
Dầu thủy lực, nhũ tương, nước, khí đốt, v.v. |
-20~+200 (với FKM vòng chữ O phù hợp) |
1. Các vật liệu vòng chữ O phù hợp bao gồm: Cao su Nitrile Butadiene R01 (NBR), Cao su Fluorororubber R02 (FKM), v.v.
2. Vật liệu vòng đệm: Vật liệu tiêu chuẩn PTFE3 và PTFE4; các vật liệu tùy chọn khác bao gồm PTFE1, PTFE2 và PTFE5.
Ruichen đã thực hiện nghiên cứu, phát triển và sản xuất độc lập ngay từ đầu nguyên liệu thô, hiện thực hóa việc kiểm soát toàn bộ chuỗi sản phẩm.
1. Nhựa kỹ thuật và vật liệu composite: Chúng tôi lấy polytetrafluoroethylene (PTFE) làm cốt lõi, từ trộn, thiêu kết đến đúc khuôn, sản xuất độc lập tất cả các loại ống và thanh vật liệu composite đã được cải tiến, sau đó xử lý chính xác thành các con dấu. Điều này đảm bảo tính ổn định và khả năng tùy biến của các đặc tính vật liệu.
2. Chất đàn hồi polyurethane hiệu suất cao: Chúng tôi bắt đầu từ việc đúc prepolyme, độc lập sản xuất vật liệu ống và thanh polyurethane chất lượng cao, sau đó xử lý chúng thành nhiều loại phớt khác nhau, có khả năng chống mài mòn, chịu áp lực và chống thủy phân vượt trội.
Ví dụ đặt hàng
Đặt hàng Model RC2054—80×69×4.2—PTFE3—R01 Model-D*d*L- Mã vật liệu Đặt hàng Model RCX18—80×69x4.2—HPU Model-D*d*L- Mã vật liệu
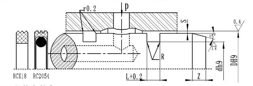
Bảng thông số kỹ thuật và thông số (bất kỳ thông số kỹ thuật nào trong phạm vi thông số đều có sẵn)
|
Phạm vi khẩu độ DH9 |
Đường kính rãnh dh9 |
Chiều rộng rãnh L+0,2 |
Khoảng hở xuyên tâm Smax |
Các góc tròn Rmax |
vát mép Zmin |
|
|
0 ~ 10Mpa |
10 ~ 20Mpa |
|||||
|
8~39 |
D-4.9 |
2.2 |
0.15 |
0.1 |
0.4 |
2 |
|
40~79 |
D-7.5 |
3.2 |
0.2 |
0.15 |
0.6 |
3 |
|
80~132 |
D-11.0 |
4.2 |
0.25 |
0.2 |
1.0 |
4 |
|
133~329 |
D-15.5 |
6.3 |
0.3 |
0.25 |
1.3 |
5 |
|
330~669 |
D-21.0 |
8.1 |
0.3 |
0.25 |
1.8 |
7 |
|
670~1500 |
D-28.0 |
9.5 |
0.45 |
0.3 |
2.0 |
8 |
|
D |
d |
L |
D |
d |
L |
D |
d |
L |
D |
d |
L |
|
8 |
3.1 |
2.2 |
50 |
42.5 |
3.2 |
170 |
154.5 |
6.3 |
380 |
359.0 |
8.1 |
|
10 |
5.1 |
2.2 |
55 |
47.5 |
3.2 |
180 |
164.5 |
6.3 |
390 |
369.0 |
8.1 |
|
12 |
7.1 |
2.2 |
60 |
52.5 |
3.2 |
190 |
174.5 |
6.3 |
400 |
379.0 |
8.1 |
|
14 |
9.1 |
2.2 |
63 |
55.5 |
3.2 |
200 |
184.5 |
6.3 |
420 |
399.0 |
8.1 |
|
15 |
10.1 |
2.2 |
65 |
57.5 |
3.2 |
210 |
194.5 |
6.3 |
450 |
429.0 |
8.1 |
|
16 |
11.1 |
2.2 |
70 |
62.5 |
3.2 |
220 |
204.5 |
6.3 |
480 |
459.0 |
8.1 |
|
18 |
13.1 |
2.2 |
75 |
67.5 |
3.2 |
230 |
214.5 |
6.3 |
500 |
479.0 |
8.1 |
|
20 |
15.1 |
2.2 |
80 |
69.0 |
4.2 |
240 |
224.5 |
6.3 |
520 |
499.0 |
8.1 |
|
22 |
17.1 |
2.2 |
85 |
74.0 |
4.2 |
250 |
234.5 |
6.3 |
550 |
529.0 |
8.1 |
|
24 |
19.1 |
2.2 |
90 |
79.0 |
4.2 |
260 |
244.5 |
6.3 |
600 |
579.0 |
8.1 |
|
25 |
20.1 |
2.2 |
95 |
84.0 |
4.2 |
270 |
254.5 |
6.3 |
630 |
609.0 |
8.1 |
|
28 |
23.1 |
2.2 |
100 |
89.0 |
4.2 |
280 |
264.5 |
6.3 |
650 |
629.0 |
8.1 |
|
30 |
25.1 |
2.2 |
105 |
94.0 |
4.2 |
290 |
274.5 |
6.3 |
670 |
642.0 |
9.5 |
|
32 |
27.1 |
2.2 |
110 |
99.0 |
4.2 |
300 |
284.5 |
6.3 |
700 |
672.0 |
9.5 |
|
35 |
30.1 |
2.2 |
115 |
104.0 |
4.2 |
310 |
294.5 |
6.3 |
750 |
722.0 |
9.5 |
|
36 |
31.1 |
2.2 |
120 |
109.0 |
4.2 |
320 |
304.5 |
6.3 |
800 |
772.0 |
9.5 |
|
38 |
33.1 |
2.2 |
125 |
114.0 |
4.2 |
330 |
309.0 |
8.1 |
1000 |
972.0 |
9.5 |
|
40 |
32.5 |
3.2 |
130 |
119.0 |
4.2 |
340 |
319.0 |
8.1 |
|
|
|
|
42 |
34.5 |
3.2 |
140 |
124.5 |
6.3 |
350 |
329.0 |
8.1 |
|
|
|
|
45 |
37.5 |
3.2 |
150 |
134.5 |
6.3 |
360 |
339.0 |
8.1 |
|
|
|
|
48 |
40.5 |
3.2 |
160 |
144.5 |
6.3 |
370 |
349.0 |
8.1 |
|
|
|
Lưu ý: Thông số kỹ thuật bắt buộc không được liệt kê ở đây; vui lòng liên hệ với công ty chúng tôi. Chúng tôi cung cấp các sản phẩm có đường kính tối đa 2800mm.



Địa chỉ
Đường số 1 Ruichen, Khu công nghiệp Dongliuting, huyện Chengyang, thành phố Thanh Đảo, tỉnh Sơn Đông, Trung Quốc
điện thoại